销售热线

首页 / 新闻中心 / 行业新闻 / 干式自磨系统——湿式自磨系统实例

干式自磨系统——湿式自磨系统实例

作者:天博机器时间:2010-10-08更新时间:2010-10-08

如果您想了解我们的产品,可以随时拨打我公司的销售热线或点击下方按钮在线咨询价格!
立即拨打电话享更多优惠:0371-67772626

在线咨询

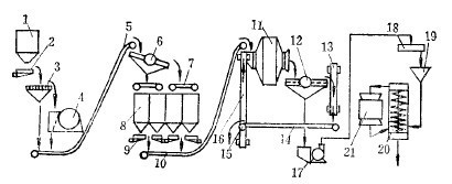
一段闭路湿式自磨系统,如图1所示。

图 1

物料合并,用带式运输机5送到贮矿仓8。为了给自磨机配矿,在贮矿仓8上设有振动筛6,将粗碎后的原矿分成为350-100毫米与100-0毫米两个级别(即人工配比),分别用可逆带式运输机7卸入贮矿仓8内。存于矿仓内的矿石由电振给矿机19按比例给到集矿带式运输机10,输送到自磨机11内。自磨机与直线振动筛12构成半闭路循环,自磨机的排矿经直线振动筛12分级后,筛上产物在由三条带式运输机13、14、16返回自磨机的过程中,在第二条带式运输机14的首轮处安有磁滑轮15,筛上产物被分成为磁性产物和非磁性产物,磁性产物返回自磨机再磨,非磁性产物接近尾矿品位,故丢弃。直线振动筛的筛下产物用泵17扬到矿浆分配器18,经永磁磁力脱水槽19脱泥后自流到第二磨矿段,第二磨矿段为螺旋分级机20作预先检查分级与格子型球磨机21,组成的闭路循环。分级溢流细度为80%-200目,为自磨系统合格产物。

在线留言

姓名:

电话:

需求: